通用波紋金屬軟管
金屬軟管作為一種柔性耐壓管件安裝于液體輸送系統中,用以補償管道或機器、設備連接端的相互位移,吸收振動能量,能夠起到減振、消音等作用,具有柔性好、質量輕、耐腐蝕、抗疲勞、耐高低溫等多項有點。
本公司不銹鋼金屬軟管(金屬波紋管)事業部生產的不銹鋼金屬軟管、不銹鋼波紋管、不銹鋼金屬軟接頭等,使用進口SUS304(0Cr18Ni9)SUS316(0Cr17Ni12Mo2)以及SUS316L(00Cr17Ni14Mo2)材料制造。
其中不銹鋼絲編織軟管、流體輸送金屬波紋管、不銹鋼泵連減振軟管、不銹鋼消防軟管、不銹鋼波紋補償器、燃氣機械不銹鋼波紋管完全符合國內工業標準。產品具有柔性好,耐腐蝕,抗疲勞、耐高低溫,減震降噪,密封性強,使用壽命長等優點。廣泛應用于紡織、化纖、印染、石油、化工、鋼鐵、燃氣、空調、汽車、消防、城市供水,建筑、冶金石化等領域。 |
1、 |
接管式波紋金屬軟管
產品型號:HBJR
公稱通徑:DN8~DN400
工作壓力:0.6~1.0(MPa)
連接形式:0H |
|
 |
|
2、
(1) |
接頭式波紋金屬軟管
一端球頭外套螺母一端內錐接頭連接
產品型號:HBJR
公稱通徑:DN4~DN32
工作壓力:1.0~35(MPa)
連接形式:RL3/RL4 |
|
 |
|
(2) |
兩端球頭外套螺母連接
產品型號:HBJR
公稱通徑:DN4~DN32
工作壓力:1.0~35(MPa)
連接形式:RL3 |
|
 |
|
(3) |
榫槽接頭連接
產品型號:HBJR
公稱通徑:DN18~DN40
工作壓力:4.0~16(MPa)
連接形式:RX24/25或RX24
A 一端榫面、一端槽面接頭(RL5/RL625)
B 兩端榫面接頭(RL6) |
|
 |
|
(4) |
55°錐管螺紋連接
產品型號:HBJR
公稱通徑:DN8~DN50
工作壓力:1.0~2.5(MPa)
連接形式:RX01或RX01/09
A 兩端錐管陽螺紋(RL6)
B 一端陽、一端陰錐管螺紋(RL6/7) |
|
 |
|
(5) |
油任接頭連接
產品型號:HBJR
公稱通徑:DN15~DN80
工作壓力:0.25~1.6(MPa)
連接形式:RX02A或RX02
A 兩端油任接頭(RL8)
B 兩端油任內錐螺紋(BK7) |
|
 |
|
(6) |
開啟式快速接頭連接
產品型號:HBJR
公稱通徑:DN15~DN50
工作壓力:2.5~4.0(MPa)
連接形式:BK2/3 |
|
 |
|
(7) |
爪型快速接頭連接
產品型號:HBJR
公稱通徑:DN40~DN150
工作壓力:1.6~2.5(MPa)
連接形式:BK1 |
|
 |
|
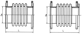
3.法蘭式波紋金屬軟管
(1) |
兩端平焊法蘭連接
產品型號:HBJR
公稱通徑:DN32~DN600
工作壓力:0.25~2.5(MPa)
連接形式:AF1 |
|
 |
|
(2) |
一端平焊法蘭,一端松套法蘭連接
產品型號:HBJR
公稱通徑:DN32~DN600
工作壓力:0.6~2.5(MPa)
連接形式:AF2/AF1 |
|
 |
|
(3) |
兩端翻邊松套法蘭連接
產品型號:HBJR
公稱通徑:DN15~DN300
工作壓力:0.6~2.5(MPa)
連接形式:AF2 |
|
 |
|
(4) |
凹凸面高壓法蘭連接
產品型號:HBJR
公稱通徑:DN32~DN200
工作壓力:4.0~6.4(MPa)
連接形式:RX26/27或RX26
A 一端凸面法蘭,一端凹面法蘭連接(RX26/27)
B 兩端凸面法蘭連接(RX26) |
|
 |
|